Manuel du conducteur
FONCTIONNEMENT DE LA TELECOMMANDE EQUIPEE DU SYSTEME MAIN-LIBRE
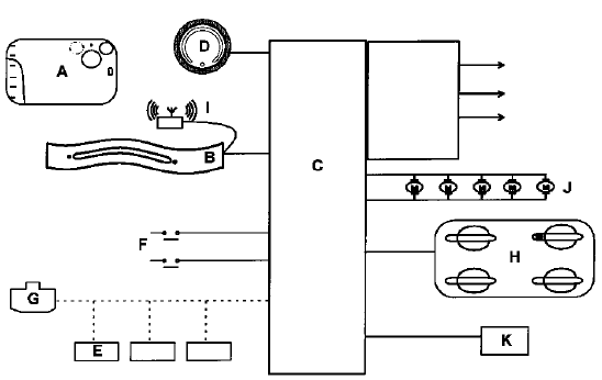
Pour fonctionner ce système utilise :

La carte RENAULT avec fonction main-libre est équipée de trois boutons :

REMARQUES : cette télécommande peut être utilisée sans le système main-libre après avoir inhibé cette fonction par les boutons (1) et (2). Dans ce cas, le fonctionnement est identique à la télécommande simple.
Pour condamner les portes du véhicule en utilisant le système main-libre (appuyer sur le bouton (3) si la fonction main-libre a été désactivée) :
Lorsqu'elle sort du périmètre de communication avec l'Unité Centrale Habitacle (via les antennes radiofréquence), les portes et le coffre se condamnent
La condamnation des portes par la télécommande pourra être visualisée par les clignotements des feux de détresse, par un signal sonore et l'allumage du voyant rouge.
Si une ou plusieurs portes sont mal fermées, les feux de détresse restent éteints lors de la condamnation par la télécommande.
NOTA : une action sur le bouton "fermeture" ou "ouverture" de la carte RENAULT désactive la fonction main-libre. La carte RENAULT "main-libre" fonctionne alors comme carte RENAULT "simple".
Une action sur le bouton "auto" de la carte RENAULT réactive le système au bout de 3 secondes environ.
ATTENTION : la condamnation par la fonction mainlibre peut être inhibée par les outils de diagnostic.
Pour décondamner les portes du véhicule en utilisant le système main-libre (appuyer sur le bouton (3) si la fonction main-libre a été désactivée) :

NOTA : le clignotement des feux de détresse lors de la sollicitation des télécommandes est piloté par l'Unité Centrale Habitacle (consulter le chapitre "Clignotants").
ALIMENTATION DE LA CARTE RENAULT
Les télécommandes des cartes RENAULT sont alimentées par une pile. La charge de la pile peut être visualisée par le voyant (4).

Pour la fonction main libre, la carte RENAULT à trois boutons est équipée d'un accumulateur. Il se recharge lorsque la carte RENAULT est insérée dans le lecteur.
En 20 minutes de charge, l'accumulateur a récupéré la décharge d'une journée. Une recharge correcte peut durer 24 heures. Cet accumulateur n'est pas démontable.
Le transpondeur, système antidémarrage dans la carte RENAULT, ne comporte pas d'alimentation électrique.
ATTENTION : la pile est aussi utilisée pour la fonction main-libre.
Véhicule sans clé :Carte RENAULT "simple"
Véhicule sans clé :Répétiteurs latérauxInterprétation des paramètres
MESURE DEBIT D'AIR
CONSIGNES
Effectuer ce diagnostic après avoir relevé une incohérence dans le
menu paramètre
ou suite à un défaut non résolu ou un effet client (manque de puissance, fumée....).
Si au ralenti, avec un recyclage EGR de ~ ...
Diagnostic des rétroviseurs - Effets client
Mauvais affichage de la température extérieure
Pas de dégivrage
Pas de fonction électrochrome sur le ou les rétroviseurs extérieurs
Pas de fonction électrochrome sur le rétroviseur intérieur
Réglage électrique impossibl ...
Avertisseurs sonore et lumineux
Avertisseur sonore
Appuyez sur le coussin du volantA.
Avertisseur lumineux
Pour obtenir un appel lumineux,
même si l'éclairage n'est pas utilisé,
tirez la manette 1 vers vous.
Signal " danger "
Signal " danger "
Appuyez sur le contacteur 2.
Ce dispositif acti ...
www.rensatis.com © 2025