Manuel du conducteur
PRESENTATION DU CIRCUIT

DEPOSE DE L'ENSEMBLE VANNE EGR-ECHANGEUR
Voir chapitre 12A "Vanne EGR-échangeur".
BUT DU SYSTEME EGR
La recirculation des gaz d'échappement est employée afin de réduire la teneur en oxyde d'azote (NOx) contenu dans les gaz d'échappement.
Le calculateur d'injection autorise le passage des gaz grâce au pilotage d'une vanne électrique.
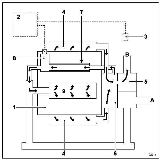
PRINCIPE DE FONCTIONNEMENT
La vanne est commandée par un signal RCO (Rapport Cyclique d'Ouverture) émis par le calculateur d'injection. Le signal RCO permet de moduler l'ouverture de la vanne, et par conséquent, la quantité de gaz d'échappement détournée vers le collecteur d'admission.
Le calculateur effectue en permanence un test permettant de connaître la position du volet de la vanne.
Dans le but de réduire le pourcentage d'émission polluante, le moteur P9X utilise un refroidisseur de gaz d'échappement recyclés. Les gaz admis dans le cylindre par la vanne EGR traversent un échangeur refroidi par le liquide de refroidissement. Ceci a pour conséquence d'accentuer la baisse de la température de combustion. De ce fait, les émissions de NOx sont réduites.
AFFECTATION DES VOIES
Capteur de position (1)
Electrovanne EGR (2)

CONDITIONS DE FONCTIONNEMENT
Les paramètres qui déterminent l'activation de l'électrovanne EGR sont les suivants :
L'EGR EST COUPE :
EN CAS DE DEFAUT :
La vanne EGR fonctionne en mode dégradé ou n'est plus alimentée.
Moteur G9T
Demarrage chargeDirection assistée
CONTROLE DU NIVEAU
NIVEAU POMPE D'ASSISTANCE DE DIRECTION
Utiliser pour les appoints ou le remplissage de l'huile
ELF RENAULTMATIC D2 ou MOBIL ATF 220.
Pour un niveau correct, il faut qu'il soit visible entre les
niveaux MINI et MAXI sur le réservoir (1).
MOTEURS TOUS TYPES
...
Pneumatiques (sécurité pneumatiques, roues, utilisation hivernale)
Sécurité pneumatiques - roues
Les pneumatiques constituent le
seul contact entre le véhicule et la
route, il est donc essentiel de les
tenir en bon état.
Vous devez impérativement vous
conformer aux règles locales prévues
par le code de la ro ...
Aide
APPARIEMENT DE LA VALVE ET DE SA ROUE
La nécessité d'identifier la roue en défaut, conjointement au fait que le
récepteur ne peut déterminer la position de
la roue émettrice, impose d'apparier chaque capteur à une roue dès la
fabrication ...
www.rensatis.com © 2025