Manuel du conducteur
OUTILLAGE SPECIALISE INDISPENSABLE
Mot. 1453 Appareil de maintien moteur
Mot. 1531 Centreur volant moteur
Mot. 453-01 Pinces pour tuyaux souples (Durit)
MATERIEL INDISPENSABLE
Vérin d'organes

RAPPEL
Avant de débrancher la batterie, il faut :
IMPORTANT :
Si ce délai n'est pas respecté, Carminat risque de ne pas fonctionner.
DEPOSE
Mettre le véhicule sur un pont à deux colonnes.
Ouvrir le capot et déposer :
Débrancher la batterie.
Déposer :

Pour cela, percer les trois vis inviolables à l'aide d'un foret de diamètre 5 mm dans l'axe de la vis.
Puis déposer les vis à l'aide du Mot. 1372.

NOTA : Remplacer systématiquement les vis lors de la repose
Dégager :


Vidanger le réservoir de liquide de frein à l'aide d'une seringue jusqu'au raccord du tuyau d'émetteur d'embrayage.
Déclipper le tuyau d'embrayage en (1) et (2).
Déposer :
Ecarter les différents faisceaux pouvant gêner lors de la descente du moteur.

Déposer :
Vidanger la boîte de vitesses.
Dégrafer les flexibles de frein.
Déposer :
Côté gauche du véhicule

Déposer :

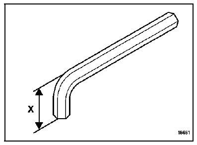
Déposer :

X = 25 mm

Déposer le demi-train et prendre soin de protéger les soufflets.

Côté droit du véhicule
Déposer :

Desserrer :
Déposer le demi-train et prendre soin de protéger les soufflets.

Déposer la barre transversale (D) fixée sur les longerons.
De chaque côté du véhicule, déposer :

Desserrer les vis de tirant de fixation du berceau sur la caisse.

Déposer :
Déclipper :

Sur le berceau dégager le faisceau de l'antiblocage des roues et le tuyau d'alimentation de liquide de frein en (3) et (4).
Déposer le pot de détente (voir ligne d'échappement "catalyseur" chapitre 19B).
Basculer légèrement le berceau afin de déposer les fixations de la crémaillère.

Déposer :
Placer un vérin d'organes sous le berceau.

Attacher la crémaillère.
Déposer :

Particularités des véhicules direction à droite
Déposer en plus la patte de fixation (C).

Déposer :


Mettre en place le support moteur Mot. 1453 avec la sangle de maintien.

Déposer :

Déposer le support de boîte de vitesses.
Mettre en place le vérin d'organes.
Déposer les fixations infér ieures de la boîte de vitesses.
Par mesure de sécurité l'extraction et la dépose de boîte s'effectuent à deux personnes.
REPOSE
Si l'embrayage a été déposé, se reporter au Chapitre 20.
S'assurer de la présence du goujon de centrage moteur - boîte de vitesses.
ATTENTION : Ne pas enduire de graisse les cannelures de l'arbre d'embrayage.
Remonter le suppor t de boîte de vitesses en suivant l'ordre de serrage des vis de fixation.

Pour la repose procéder en sens inverse de la dépose.
Effectuer le remplissage :
Purger le système d'embrayage (voir chapitre 37A "Cylindre émetteur d'embrayage").
ATTENTION : Fixer correctement les tuyaux de frein sur les pieds d'amortisseur.
IMPORTANT :
Moteur F4RSegments non traités
CONSIGNES
Sur ce véhicule, les seuls segments ne pouvant être diagnostiqués
sont :
le segment de la prise diagnostic,
le segment de l'afficheur position levier de vitesses boîte
automatique,
le segment de l'Unité Centrale de Communication (si option
t ...
Moteur F4R
PRINCIPE
En phase de bouclage, la régulation de richesse corrige le temps d'injection
de façon à obtenir un dosage le plus
près possible de la richesse 1. La valeur de correction est proche de 128, avec
pour butée 0 et 255.
La correction adaptative de rich ...
Unité de commande
L'unité de commande se situe au niveau du train
arrière, derrière le réservoir de carburant.
Les opérations qui suivent se font berceau en place.
DEPOSE
Débrancher la batterie.
Déposer :
les enjoliveurs arrière (selon é ...
www.rensatis.com © 2026