Manuel du conducteur
OUTILLAGE SPECIALISE INDISPENSABLE
Mot. 1566 Outil de dépose des tuyaux haute pression
MATERIEL INDISPENSABLE
Clé dynamométrique "faible couple" Clé pour tuyaux haute pression "DM" 19 de chez Facom, par exemple

ATTENTION : Avant toute intervention, brancher l'outil de diagnostic après-vente, entrer en dialogue avec le calculateur d'injection et vérifier que la rampe d'injection ne soit plus sous pression.
Prendre garde à la température de carburant.
Commander le kit de bouchons spécial circuit d'injection haute pression.
DEPOSE
RESPECTER STRICTEMENT LES CONSIGNES DE PROPRETE
Débrancher la batterie.
Déclipper les cloisons latérales de la bavette en caoutchouc.
Déclipper du couvre-culasse et repousser au maximum vers l'arrière la bavette en caoutchouc.
Déposer les insonorisants absorbants.

Débrancher électriquement le capteur de pression (1) et les injecteurs.
Déposer :
Mettre en place les bouchons de propreté.
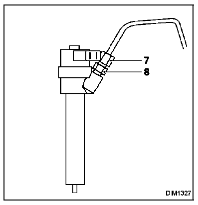
ATTENTION : Lors du desserrage des raccords (7) des tuyaux d'injection sur les porte-injecteurs, retenir impérativement les écrous (8) de maintien des filtretiges avec une contre-clé.
Desserrer les vis (5) de la rampe d'injection sans l'enlever.


REPOSE
Ne retirer les bouchons de protection qu'au dernier moment pour chacun des organes.
Reposer :
Enlever les bouchons de la rampe, des porteinjecteurs et des tuyaux d'injection.
Monter les tuyaux d'injection entre la rampe et les injecteurs ainsi qu'entre la rampe et la pompe puis prévisser les écrous à la main jusqu'au contact.
Serrer au couple de 2,3 daN.m les trois vis de fixation de la rampe.
Serrer au couple de 2,5 daN.m les raccords de tuyaux d'injection au niveau des injecteurs et de la pompe haute pression.
Serrer au couple de 2,5 daN.m les raccords de tuyaux d'injection au niveau de la rampe.
Procéder à la repose du protecteur de rampe en vous reportant à la méthode de dépose-repose du protecteur de rampe (voir chapitre 13B Injection diesel "Protecteur de rampe").
Lors de toute intervention sur le protecteur de rampe, il faut veiller après repose des éléments composant le système à ce qu'ils soient bien en place (voir chapitre "Protecteur de rampe").
Le non respect de ces consignes peut avoir de graves conséquences.
Effectuer le reste du remontage dans le sens inverse de la dépose.
Jeter la pochette de bouchons utilisée lors de l'opération.
Effectuer un réamorçage du circuit en mettant le contact à plusieurs reprises, ou faire tourner la pompe basse pression à l'aide de l'outil de diagnostic dans le menu "Commandes des actuateurs".
Avant de redémarrer le moteur, effacer avec l'outil de diagnostic les défauts éventuellement mémorisés par le calculateur d'injection.
Après toute intervention, vérifier l'absence de fuite du circuit de gazole.
Procéder comme suit :
Moteur P9XInterprétation des défauts
ANOMALIE
ELECTRONIQUE INTERNE UNITE CENTRALE
HABITACLE
1.DEF : Panne électrique présente non identifiée
DEF : Panne électrique mémorisée non identifiée
CONSIGNES
Couper le contact.
Changer l'Unité Centrale Habitacle.
MOTEUR
DIRECTI ...
Circuit d'alimentation en essence
Moteur F4R
DESCRIPTIF
Le circuit d'alimentation en essence du moteur est un circuit sans retour.
La pression d'alimentation en essence ne varie plus en fonction de la charge du
moteur.
Le circuit est composé :
d'une rampe (1) sans raccord de canalisation de retour et sans
r&e ...
Commande électrique avant
BOITIER RESISTANCES
Débrancher la batterie.
Le boîtier résistances est accessible par le dessous de
la planche de bord.
Débrancher la batterie.
Déposer :
les deux vis (A) de fixation du boîtier résistances,
les deux connecteurs (B) du b ...
www.rensatis.com © 2025