Manuel du conducteur

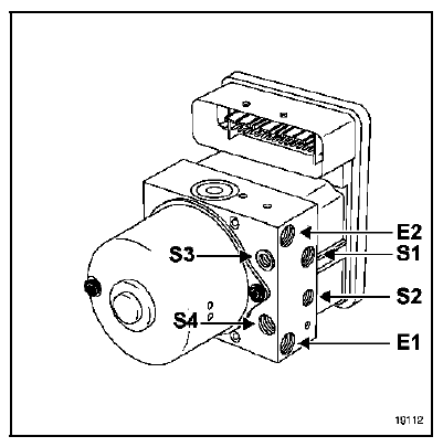
Le groupe hydraulique MK 60 est composé de douze électrovannes.

E1 circuit primaire du maître cylindre
E2 circuit secondaire du maître cylindre
S1 sortie vers la roue avant gauche
S2 sortie vers la roue avant droite
S3 sortie vers la roue arrière droite
S4 sortie vers la roue arrière gauche
Le groupe hydraulique est placé à l'avant gauche sur le véhicule, derrière le bouclier avant.
DEPOSE
Débrancher la batterie.
Déposer :

Dévisser, sans les déposer, les deux vis avant (2) du longeron en aluminium.

Déposer :
REPOSE
Procéder en sens inverse de la dépose.
Purger le système de freinage (voir méthode correspondante).
Présentation de l'unité de régulation
Calculateur d'antiblocage des rouesAide à la recherche
de court-circuits sur le réseau
CONSIGNES
Se munir du schéma du réseau multiplexé du véhicule (schéma de la
prise
diagnostic).
Couper le contact, retirer la carte RENAULT du lecteur, vérifier que les feux de
position
soient éteints, attendre 1 minute.
En cas de court-circ ...
Caractéristiques
Moteur F4R
(1) à 2500 tr/min, le CO doit être de 0,3 maxi.
* Pour une température d'eau supérieure à
80 C et après un régime stabilisé à 2500 tr/min pendant
30 secondes environ.
* * Pour valeurs législatives, v ...
Garniture supérieure de pied milieu
DEPOSE
Déposer :
la garniture inférieure de pied milieu,
le joint d'encadrement de porte (partiellement).
Déclipper la garniture en partie supérieure (A).
Dégager la garniture (1). ...
www.rensatis.com © 2026