Manuel du conducteur
Particularités
Pour toute intervention sur ce système, ce numéro de code de réparation pourra être demandé au réseau d'assistance local (consulter la note technique 3315E).
Pour toute demande de numéro de code, il est désormais impératif de fournir le numéro d'identification du véhicule ainsi que son numéro de fabrication. Ceci permet à l'opérateur d'identifier le véhicule afin de donner le bon code.

NOTA : il est possible de commander une clé de secours au magasin des pièces de rechange en mentionnant le numéro de sécurité du véhicule.
GENERALITES
Il s'agit d'un antidémarrage commandé par un système de reconnaissance de carte RENAULT à code évolutif aléatoire.
Une électronique codée (fonctionnant sans pile) indépendante de la fonction télécommande est intégrée dans chaque carte RENAULT du véhicule.
L'antidémarrage est activé quelques secondes après le retrait de la carte RENAULT du lecteur de carte. Il pourra être visualisé par le clignotement du voyant lumineux rouge situé sur le tableau de bord et par le blocage du verrou électronique de colonne de direction.
Lors de sa fabrication, un code de douze caractères hexadécimaux est affecté au véhicule afin de rendre opérationnel le système antidémarrage.
Ce code de réparation sera nécessaire en après-vente pour :
NOTA : Pour obtenir le code de réparation, il est impératif de connaître le numéro de série du véhicule. Plusieurs moyens sont possibles en fonction des pays (consulter la note technique 3315E) :
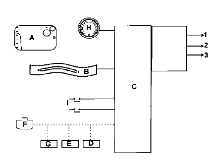
PRESENTATION DU SYSTEME

Liaison multiplexée
Liaison filaire
DESCRIPTION DU SYSTEME
Avec ce système, l'antidémarrage est activé quelques secondes après la coupure du contact (matérialisé par le clignotement du voyant rouge antidémarrage et le blocage du verrou électrique de colonne de direction).
Il se compose :
NOTA : le lecteur de carte RENAULT n'est pas codé.
Pour la fonction antidémarrage, l'Unité Centrale Habitacle assure les fonctions suivantes :
NOTA : Pour les autres fonctions pilotées par l'Unité Centrale Habitacle, consulter le chapitre 87B.
FONCTIONNEMENT
Lorsque le système antidémarrage est opérationnel le voyant rouge de l'antidémarrage clignote (clignotement lent ; un éclairage/seconde). Le verrou électrique de colonne de direction est bloqué.
Cas particuliers
ATTENTION : lorsque la batterie est peu chargée, la chute de tension provoquée par la sollicitation du démarreur peut réactiver l'antidémarrage. Si la tension est trop faible, le démarrage est impossible, même en poussant le véhicule.
REMPLACEMENT ET CONFIGURATION DE L'UNITE CENTRALE HABITACLE
Les pièces neuves ne sont pas codées. Une fois montées sur le véhicule, il sera donc nécessaire de leur apprendre un code pour qu'elles soient opérationnelles.
Pour réaliser cette procédure, il est impératif que certaines pièces du véhicule soient déjà correctement codées (au code du véhicule). Consulter le tableau des affectations.
ATTENTION : si une pièce apprend un code, celle-ci est affectée au véhicule, il est impossible d'effacer ce code ou de lui en apprendre un second. Le code appris ne peut pas être effacé.
TABLEAU DES AFFECTATIONS

* La carte Renault affectée à un véhicule doit être vierge ou déjà apprise sur ce véhicule.
REMARQUE : celle-ci peut être apprise sur un véhicule mais non opérationnelle (non affectée).
RAPPEL : seules les cartes RENAULT présentées lors de l'affectation seront opérationnelles.
REMPLACEMENT ET CONFIGURATION DE L'UNITE CENTRALE HABITACLE
Une Unité Centrale Habitacle neuve n'est pas codée. Une fois montée sur le véhicule, il sera donc nécessaire de lui apprendre un code pour qu'elle soit opérationnelle.
Pour réaliser cette procédure, il est impératif de posséder au moins une des anciennes cartes RENAULT du véhicule, le code de réparation et que le calculateur d'injection soit correctement codé (consulter le tableau des affectations).
ATTENTION : si un code est appris dans l'Unité Centrale Habitacle, celle-ci est affectée au véhicule, il est impossible de l'effacer ou de lui en apprendre un second.
IMPORTANT : seules les cartes RENAULT présentées lors de cette procédure seront fonctionnelles à condition :
PROCEDURE D'APPRENTISSAGE DE L'UNITE CENTRALE HABITACLE
Carte RENAULT non présente dans le lecteur, entrer le code secret après-vente (12 caractères hexadécimaux) et le valider.
ATTENTION : entre chaque opération le délai maximal est de 2 minutes, sinon la procédure est annulée, l'outil affiche alors le message "procédure interrompue : attention, les cartes affectées au véhicules sont celles qui étaient affectées avant le lancement de la procédure. Les cartes présentées avant l'interruption de la procédure ne sont plus vierges et ne peuvent être affectées qu'à ce véhicule". Ce message apparaît également en cas de perte de dialogue avec l'Unité Centrale Habitacle ou de coupure batterie.
CAS PARTICULIERS
Si l'écran affiche :
Vérifier le code puis retenter la saisie.
ATTENTION : lorsqu'une Unité Centrale Habitacle a appris le code des cartes RENAULT, il est impossible de l'effacer ou de mémoriser un autre code à la place.
PROCEDURE D'APPRENTISSAGE DE L'UNITE CENTRALE HABITACLE


PROCEDURE D'AFFECTATION DES CARTES RENAULT
NOTA : il est possible de savoir si une carte Renault est vierge par l'état: "ET115 : carte vierge".
IMPORTANT : dans le cas où toutes les cartes RENAULT ne sont pas disponibles, il sera nécessaire de réaliser une procédure de réaffectation par la suite avec la totalité des cartes.
Présenter une autre carte.
NOTA : Dans le cas où l'on représente deux fois la même carte RENAULT le système n'en tient pas compte, le voyant antidémarrage reste éteint.
ATTENTION : celles-ci doivent être des anciennes cartes RENAULT du véhicule ou des cartes RENAULT neuves non codées.
NOTA : le véhicule ne peut accepter qu'une seule carte RENAULT équipée de la fonction main-libre. Si une seconde carte RENAULT est affectée au véhicule, celle-ci fonctionnera comme une carte RENAULT simple.
ATTENTION : entre chaque opération le délai maximal est de 5 minutes, sinon la procédure est annulée, l'outil affiche alors le message "procédure interrompue : attention, les cartes affectées au véhicules sont celles qui étaient affectées avant le lancement de la procédure. Les cartes présentées avant l'interruption de la procédure ne sont plus vierges et ne peuvent être affectées qu'à ce véhicule". Ce message apparaît également en cas de perte de dialogue avec l'Unité Centrale Habitacle ou de coupure batterie.
NOTA : dans le cas d'un remplacement de l'Unité Centrale Habitacle seule, il n'y a aucune intervention à faire sur le calculateur d'injection, il conserve le même code antidémarrage.
PROCEDURE D'AFFECTATION DES CARTES RENAULT


Antidemarrage
Calculateur d'injectionAutoradio "haut de gamme" : Fonctionnement
L'autoradio permet un fonctionnement, sans position
accessoires, pendant 20 minutes environ. L'autoradio
émet un signal sonore puis s'éteint.
FONCTION RADIO
Ce système utilise deux Tuner distincts :
le Tuner pour l'écoute de la radio,
le Tuner pour l'écou ...
Préliminaire
Ce document présente le diagnostic applicable sur les calculateurs :
EDC15C3C, n programme CB, n Vdiag 10, équipant la Vel Satis.
Référence calculateur : 82 00 211 474 (moteur 150 ch) ou 82 00 211 476 (moteur
115 ch)
Pour entreprendre ce diagnostic, il est imp&ea ...
Moteur V4Y
Les véhicules fonctionnant avec le système d'injection essence "HITACHI" sont
équipés de symboles défaut et de
messages écrits apparaissant clairement sur un afficheur au tableau de bord.
PRINCIPE D'ALLUMAGE DES VOYANTS
Lors d'un déf ...
www.rensatis.com © 2026