Manuel du conducteur
Moteur G9T
Se reporter au fascicule G9T pour les particularités de dépose-repose des arbres à cames ainsi que pour la procédure de remplacement des joints d'étanchéité des arbres à cames.
Moteur P9X


DEPOSE
Mettre le véhicule sur un pont élévateur à deux colonnes.
Déposer la batterie.
Vidanger le circuit de refroidissement par la Durit inférieure du radiateur.
Déposer :
Méthode pour les arbres à cames du banc avant :
Déposer :

IDENTIFICATION DES ARBRES A CAMES
Repérer les arbres à cames avant de les déposer du moteur.

Déposer :

Méthode pour les arbres à cames du banc arrière :
Déposer :


NETTOYAGE
Il est très important de ne pas gratter les plans de joints des pièces en aluminium.
Employer le produit Décapjoint pour dissoudre la partie du joint restant collée.
Il est conseillé de porter des gants pendant l'opération.
Appliquer le produit sur la partie à nettoyer ; attendre environ une dizaine de minutes, puis l'enlever à l'aide d'une spatule en bois.
REPOSE
Lubrifier les cames et les paliers.
Positionner correctement le pignon de rattrapage de jeu, en alignant ses dents avec celles du pignon d'arbre à cames en utilisant le Mot. 929-01 Insérer en (F) une goupille de 3 mm pour maintenir en position le pignon de rattrapage de jeu par rapport au pignon de l'arbre à cames.

Poser les arbres à cames en respectant le calage en (G).

Reposer les carters de distribution en appliquant un cordon de 1,2 mm de diamètre de THREEBOND selon le schéma ci-dessous en ayant au préalable :


Serrer les vis de diamètre :
Serrer les paliers d'arbres à cames au couple de 2,2 daN.m.
Serrer les goujons au couple de 4,3 daN.m sauf les deux goujons des paliers extérieurs qui se serrent au couple de 2,2 daN.m.

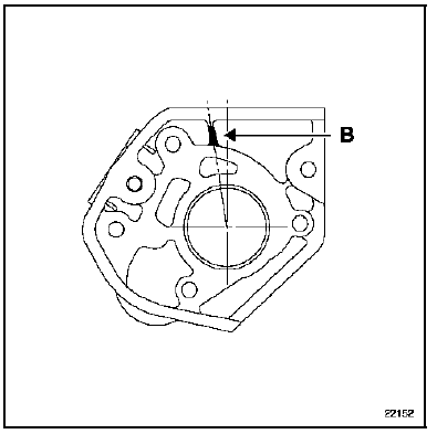
NOTA : il est impératif de remplacer le joint torique en (C).

Serrer les carters au couple de 2,5 daN.m.
Reposer les joints d'étanchéité des arbres à cames avec le Mot. 1562.

Reposer les poulies d'arbres à cames :



Serrer les poulies d'arbres à cames au couple de 12 daN.m, en utilisant le Mot. 1659 pour immobiliser les poulies d'arbres à cames.
Reposer la courroie de distribution (voir méthode décrite dans le chapitre 11A "Courroie de distribution").
CONTROLE DU JEU AUX SOUPAPES
NOTA : le jeu aux soupapes s'effectue "moteur froid". La valeur de réglage est de 0,4 mm.
Mettre le moteur au Point Mort Haut en alignant le repère (H) de la poulie de vilebrequin et le repère fixe (I).

Repérage des cylindres :

Mesurer le jeu des soupapes du cylindre n 1, les cames doivent être en dos de cames.
Placer les cames du cylindre n 2, en dos de cames en tournant le moteur dans le sens de fonctionnement.
Effectuer la mesure du jeu aux soupapes.
Répéter l'opération pour les cylindres n 3, 4, 5 et 6, en tournant le moteur dans le sens de fonctionnement et en respectant l'ordre d'injection : "1→2→3→4→5→6".
REGLAGE DU JEU AUX SOUPAPES
Placer les cames du cylindre concerné en dos de cames puis tourner légèrement le moteur dans le sens de fonctionnement pour éviter un contact entre la soupape et le piston lors de la mise en place du Mot. 1662.
Tourner les deux poussoirs hydrauliques du cylindre concerné en positionnant l'encoche vers l'extérieur des deux arbres à cames, ceci pour permettre le dégagement de la pastille.
Comprimer le ressort de soupape avec le Mot 1662.
L'outil repéré "I" sert à changer les pastilles des arbres à cames d'admission et l'outil repéré "E" sert à changer les pastilles des arbres à cames d'échappement.
Retirer les pastilles de réglage en les dégageant avec un tournevis et un doigt magnétique.

Reposer :
Effectuer le reste de la repose dans le sens inverse de la dépose.
Moteur V4Y
La dépose-repose des arbres à cames nécessite la dépose du groupe motopropulseur.
Pour respecter les conditions d'hygiène moteur, se reporter au fascicule V4Y.
Moteur P9X
Melange carbureProtecteur de bas de caisse
DEPOSE
Déposer :
la vis (A),
les clips (B).
Ouvrir la porte ; déclipper le demi-bas de caisse avant
au niveau de l'entrée de porte ; dégager le bas de
caisse (1).
Déposer :
la vis (C),
les clips (D).
Dégager le demi-bas de caiss ...
Bras supérieur
OUTILLAGE SPECIALISE INDISPENSABLE
Sus. 1656 Outil de compression de ressort
MATERIEL INDISPENSABLE
Vérin d'organes
DEPOSE
Mettre en place le véhicule sur un pont à deux
colonnes.
Arrimer le véhicule sur le pont à l'aide de sangles de
sécurit&e ...
Rangements / aménagements habitacle
Vide-poches de console centrale
Pour ouvrir, tirez sur le centre du
portillon 1 puis lâchez : il s'ouvre
seul.
Nota : suivant véhicule, cet emplacement
est prévu pour recevoir les
commandes des équipements multimédia
du véhicule (reportez-vous
a ...
www.rensatis.com © 2025